VS 2.5-96 Swinging-Bucket Rotor

Product No:C63145

The VS 2.5-96 is a two-place swinging-bucket rotor for the Allegra V-15R benchtop centrifuge and is BioSafe when used with the included lids. Each rotor carrier carries a 96-well kit for high-throughput processing (such as a DNA or RNA kit). The carriers can also hold standard microplates used in the serial dilution of small liquid volumes.

Especificações

Platform Allegra
Rotor Type Swinging-Bucket
Angle 90°
Maximum RPM 5,400 rpm (120V), 5,700 rpm (200-240V)
Max g-Force 5,495 xg
Number of Tubes 10 MTP x 2 DWP
Nominal Capacity 960mL
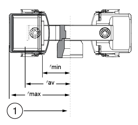
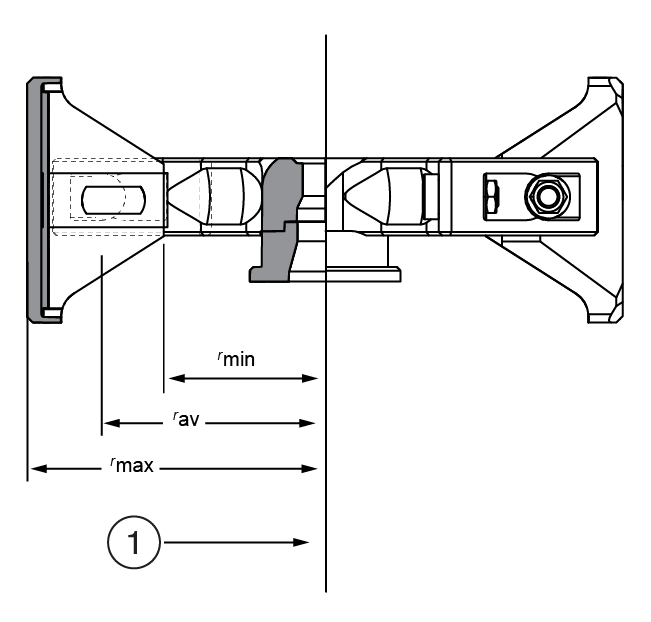
rMAX 151
rMIN 58
rAV 104.5 mm
BioSafe Yes
Materials Anodized Aluminum
Package Quantity 1